手動換向閥工作原理 六通手動換向閥結構及工作原理 機動換向閥工作原理 電磁換向閥結構及工作原理 比例電磁換向閥工作原理 二位五通電磁換向閥工作原理 液動換向閥工作原理 氣動換向閥工作原理 電液換向閥工作原理
換向閥是具有兩種以上流動形式和兩個以上油口的方向控制閥。是實現液壓油流的溝通、切斷和換向,以及壓力卸載和順序動作控制的閥門。
換向閥分類
按閥的結構形式:滑閥式、轉閥式、球閥式、錐閥式。
按閥的操縱方式:手動式、機動式、電磁式、液動式、電液動式、氣動式。
按閥的工作位置數和控制的通道數:二位二通閥、二位三通閥、二位四通閥、三位四通閥、三位五通閥等。
換向閥分類工作原理
1、手動換向閥工作原理 手動換向閥主要有彈簧復位和鋼珠定位兩種型式。下圖a所示為鋼球定位式三位四通手動換向閥,用手操縱手柄推動閥芯相對閥體移動后,可以通過鋼球使閥芯穩定在三個不同的工作位置上。下圖b則為彈簧自動復位式三位四通手動換向閥。通過手柄推動閥芯后,要想維持在極端位置,必須用手扳住手柄不放,一旦松開了手柄,閥芯會在彈簧力的作用下,自動彈回中位。下圖c所示為旋轉移動式手動換向閥,旋轉手柄可通過螺桿推動閥芯改變工作位置。這種結構具有體積小、調節方便等優點。由于這種閥的手柄帶有鎖,不打開鎖不能調節,因此使用安全。

手動換向閥(圖1)

三位四通手動換向閥(圖2)
六通手動換向閥結構及工作原理
六通換向閥主要由閥體、密封組件、凸輪、閥桿、手柄和閥蓋等零部件組成(圖1)。閥門由手柄驅動,通過手柄帶動閥桿與凸輪旋轉,凸輪具有定位驅動與鎖定密封組件的開啟與關閉功能。手柄逆時針旋轉,兩組密封組件分別在凸輪的作用下關閉下端的兩個通道,上端的兩個通道分別與管道裝置的進口相通。反之,上端的兩個通道關閉,下端兩個通道與管道裝置的進口相通,實現了不停車換向。

1上閥蓋 2手柄 3閥桿 4凸輪 5密封組件 6閥蓋 7閥體
(1)六通閥的閥體由隔板分成兩腔,每腔都有3個通道,中間為進油口,兩端為出油口。閥體為碳鋼板焊結構,體積小,質量輕,結構緊湊,提高了材料的利用率,縮短了生產周期,降低了成本。密封面堆焊不銹鋼,防銹耐腐蝕,密封面經過精加工后拋光研磨,表面粗糙度Ra≤0.8μm。
(2)六通閥有兩組密封組件。每組密封組件(圖2)由閥瓣、密封圈、調整塊、調節螺釘、夾板和螺栓組成。閥瓣為碳鋼板焊件,設有加強筋,即增加閥瓣強度又起導向作用,保證每組閥瓣間的同軸度。閥瓣上鑲嵌聚氨脂橡膠圈,該材料具有耐油、耐磨損、性能穩定、密封良好和使用壽命長的特點。在凸輪的作用下,密封圈的球面與閥體密封面相接觸產生擠壓彈性變形,達到密封效果。調整塊和調節螺釘在兩組密封組件不能同步到位時可起調整作用,確保各通道密封性能同步到位。

1夾板 2螺栓 3調整塊 4閥瓣 5密封圈 6調整螺釘
(3)閥桿與閥體隔板和上閥蓋間的軸向密封采用O形圈。
(4)閥體隔板及上閥蓋軸孔部位鑲有銅套,可減小與O形圈間的摩擦力矩,密封組件開啟與關閉靈活,操作力矩小。
(5)上閥蓋設有指示牌及限位螺釘,閥桿上安裝指針,明確指示各通道的接通狀況,易于操作。
2、機動換向閥工作原理
機動換向閥又稱行程換向閥,它是用擋鐵或凸輪推動閥芯實現換向。機動換向閥多為下圖所示二位閥。

機動換向閥(圖3)

二位二通機動換向閥(圖4)
3、電磁換向閥結構及工作原理
電磁換向閥是利用電磁鐵吸力推動閥芯來改變閥的工作位置。由于它可借助于按鈕開關、行程開關、限位開關、壓力繼電器等發出的信號進行控制,所以操作輕便,易于實現自動化,因此應用廣泛。

電磁換向閥(圖5)
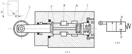
工作原理:電磁換向閥工作原理是基本相同的。現以三位四通O型滑閥機能的電磁換向閥為例來說明。如下圖閥體1內有三個環形沉割槽,中間為進油腔P,與其相鄰的是工作油腔A和B。兩端還有兩個互相連通的回油腔T。閥芯兩端分別裝有彈簧座3、復位彈簧4和推桿5,閥體兩端各裝一個電磁鐵。當兩端電磁鐵都斷電時下圖a,閥芯處于中間位置。此時P、A、B、T各油腔互不相通;當左端電磁鐵通電時下圖b,該電磁鐵吸合,并推動閥芯向右移動,使P和B連通,A和T連通。當其斷電后,右端復位彈簧的作用力可使閥芯回到中間位置,恢復原來四個油腔相互封閉的狀態;當右端電磁鐵通電時下圖c,其銜鐵將通過推桿推動閥芯向左移動,P和A相通、B和T相通。電磁鐵斷電,閥芯則在左彈簧的作用下回到中間位置。

電磁換向閥的工作原理圖(圖6)
比例電磁換向閥工作原理:電液比例換向閥是閥內比例電磁鐵輸入電壓信號產生相應動作,使工作閥閥芯產生位移,閥口尺寸發生改變并以此完成與輸入電壓成比例壓力、流量輸出元件。閥芯位移也可以以機械、液壓或電形式進行反饋。電液比例換向閥具有形式種類多樣、容易組成使用電氣及計算機控制各種電液系統、控制精度高、安裝使用靈活以及抗污染能力強等多方面優點,應用領域日益拓寬。

比例電磁換向閥(圖7)
二位五通電磁換向閥工作原理
關于二位五通電磁閥原理圖電-氣轉化組件將電訊號轉化為氣動訊號,電氣訊號輸入控制了氣動輸出。最常用的電-氣轉換組件是電磁閥(Solenoid actuated valves)。電磁閥既是電器控制部分和氣動執行部分的接口,也是和氣源系統的接口。電磁閥接受命令去釋放,停止或改變壓縮空氣的流向,在電-氣動控制中,電磁閥可以實現的功能有:氣動執行組件動作的方向控制,ON/OFF開關量控制,OR/NOT/AND邏輯控制。在電磁閥家族中,最重要的是電磁控制換向閥(Solenoid actuated directional control valves)。
電磁控制換向閥的工作原理
在氣動回路中,電磁控制換向閥的作用是控制氣流通道的通、斷或改變壓縮空氣的流動方向。主要工作原理是利用電磁線圈產生的電磁力的作用,推動閥芯切換,實現氣流的換向。按電磁控制部分對換向閥推動方式的不同,可以分為直動式電磁閥和先導式電磁閥。直動式電磁閥直接利用電磁力推動閥芯換向,而先導式換向閥則利用電磁先導閥輸出的先導氣壓推動閥芯換向。
圖4.2a表示3/2(三路二位)直動式電磁閥(常斷型)結構的簡單剖面圖及工作原理。線圈通電時,靜鐵芯產生電磁力,閥芯受到電磁力作用向上移動,密封墊抬起,使1、2接通,2、3斷開,閥處于進氣狀態,可以控制氣缸動作。當斷電時,閥芯靠彈簧力的作用恢復原狀,即1、2斷,2、3通,閥處于排氣狀態。

圖4.2b表示5/2(五路二位)直動式電磁閥(常斷型)結構的簡單剖面圖及工作原理。起始狀態,1,2進氣﹔4,5排氣﹔線圈通電時,靜鐵芯產生電磁力,使先導閥動作,壓縮空氣通過氣路進入閥先導活塞使活塞啟動,在活塞中間,密封圓面打開通道,1,4進氣,2,3排氣﹔當斷電時,先導閥在彈簧作用下復位,恢復到原來的狀態。

4、液動換向閥工作原理
液動換向閥是利用控制壓力油來改變閥芯位置的換向閥。對三位閥而言,按閥芯的對中形式,分為彈簧對中型和液壓對中型兩種。下圖a所示為彈簧對中型三位四通液動換向閥,閥芯兩端分別接通控制油口K1和K2。當K1通壓力油時,閥芯右移,P與A通,B與T通;當K2 通壓力油時,閥芯左移,P與B通,A與T通;當K1和K2都不通壓力油時,閥芯在兩端對中彈簧的作用下處于中位。當對液動滑閥換向平穩性要求較高時,還應在滑閥兩端K1、K2控制油路中加裝阻尼調節器下圖c。阻尼調節器由一個單向閥和一個節流閥并聯組成,單向閥用來保證滑閥端面進油暢通,而節流閥用于滑閥端面回油的節流,調節節流閥開口大小即可調整閥芯的動作時間。

液動換向閥(圖8)

彈簧對中型三位四通液動換向閥(圖9)
5、氣動換向閥工作原理
在氣動回路中,電磁控制換向閥的作用是控制氣流通道的通、斷或改變壓縮空氣的流動方向。主要工作原理是利用電磁線圈產生的電磁力的作用,推動閥芯切換,實現氣流的換向。按電磁控制部分對換向閥推動方式的不同,可以分為直動式電磁閥和先導式電磁閥。直動式電磁閥直接利用電磁力推動閥芯換向,而先導式換向閥則利用電磁先導閥輸出的先導氣壓推動閥芯換向。

氣動換向閥(圖10)
6、電液換向閥工作原理
電液換向閥是電磁換向閥和液動換向閥的組合。其中,電磁換向閥起先導作用,控制液動換向閥的動作,改變液動換向閥的工作位置;液動換向閥作為主閥,用于控制液壓系統中的執行元件。

電液換向閥(圖11)
由于液壓力的驅動,主閥芯的尺寸可以做得很大,允許大流量通過。因此,電液換向閥主要用在流量超過電磁換向閥額定流量的液壓系統中,從而用較小的電磁鐵就能控制較大的流量。電液換向閥的使用方法與電磁換向閥相同。
電液換向閥有彈簧對中和液壓對中兩種型式。若按控制壓力油及其回油方式進行分類則有:外部控制、外部回油;外部控制、內部回油;內部控制、外部回油;內部控制、內部回油等四種類型。

外部控制、外部回油的彈簧對中電液換向閥(圖12)
換向閥按閥的操縱方式分類
手動式、機動式、電磁式、液動式、電液動式、氣動式。
(1)機動換向閥,機動換向閥又稱行程閥。靈活換向閥又稱言程閥,重要用去節制機械運動部件的止程,還幫于裝置在工作臺上的檔鐵或凹輪迫使閥芯運動,從而掌握液流方向。
(2)電磁換向閥,電磁換向閥是利用電磁吸引力操縱閥芯換位的方向控制閥。弊用電磁鐵的通電呼分取斷電開釋而間接推進閥芯回節制液流方向。它非電氣解統和液壓系統之間的疑號轉換元件。
圖4-9a所示替二位三通交換電磁閥構造。在圖示地位,油口 P和A相通,油口B斷合;當電磁鐵通電呼分時,拉桿1將閥芯2拉向左瑞,那時油心P戰A斷啟,而和B相通。當電磁鐵斷電開釋時,彈簧3推進閥芯復位。圖 4-9b替其圖形符號。
(3)電液換向閥,電液換向閥是由電磁換向閥和液動換向閥組成的復合閥。由電磁澀閥跟液動滑閥組成。電磁閥伏后導息用,能夠轉變把持液淌方向,從而改變液動滑閥閥芯的地位。用于大西型液壓裝備外。
(4)手動換向閥,手動換向閥是用手推杠桿操縱閥芯換位的方向控制閥。應用手動杠桿回轉變閥芯地位名隱換向。分彈簧主動復位(a)跟彈簧鋼珠(b)定位二種。
(5) 液動換向閥,應用把持油路的壓力油去轉變閥芯位置的換向閥。閥芯非由其二端稀封腔外油液的壓差回挪動的。如圖所示,當壓力油從K2入進滑閥左腔時,K1接通回油,閥芯向右移動,使P和B相通,A和T相通;當K1交通壓力油,K2交通回油,閥芯向左挪動,使P和A相通,B和T相通;當K1戰K2皆通回油時,閥芯回到兩頭位置。
換向閥功能:
電磁閥的菜單示它的電-氣轉換復雜性。閥的功能由兩個數字表示:M和N,稱為M路N位電磁閥,“N位”表示換向閥的切換位置,也表示閥的狀態。閥的位置數目就是N的數值,如二位閥有兩個位置選擇亦即有兩種狀態,三位閥則有三個位置選擇亦即有三種不同的狀態。“M路”表示閥對外接口的通路,包括進氣口,出氣口和排氣口,通路的數目便是M的數值,如二路閥,三路閥等。圖4.1a例子中的閥為3/2直動式電磁閥,念作“三路二位閥”,表示該閥有兩個位,即“通”和“斷”兩個狀態,有三個氣口,分別為 1:進氣口,2:出氣口,3:排氣口。
換向閥優點
動作準確、自動化程度高、工作穩定可靠,但需附設驅動和冷卻系統,結構較為復雜;閥瓣式結構則較簡單,多用于流量較小的生產工藝上。
在石油、化工、礦山和冶金等行業中,六通換向閥是一種重要的流體換向設備。該閥安裝在稀油潤滑系統輸送潤滑油的管道中。通過變換密封組件在閥體中的相對位置,使閥體各通道連通或斷開,從而控制流體的換向和啟停。


